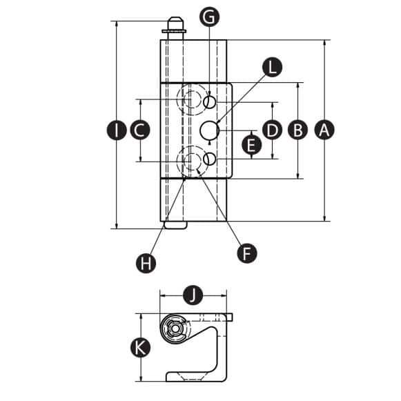
| Part No. | A | B | C | D | E | F | G | H | I | J | K | L | Material | Download CAD | Stocked status | M.O.Q. | Typical lead time | Price & availability |
|---|---|---|---|---|---|---|---|---|---|---|---|---|---|---|---|---|---|---|
| 16871Y | 48 | 25 | 16.5 | 15 | - | 4.5 | 3.2 | 7.5 | 53.5 | 17.5 | 18 | - | Zinc | CAD | Stocked | Minimum order is 2 pieces | Typical lead time is 2 days | Confirm price & availability |
| 16872U | 48 | 25 | 16.5 | 15 | 7.5 | 4.5 | 3.2 | 8.4 | 56 | 17.5 | 18 | 5 | SS 316 | CAD | Stocked | Minimum order is 2 pieces | Typical lead time is 2 days | Confirm price & availability |
Concealed & Removable Hinge with Pin and Circlip
Description
Our Model 19 HI has been developed specifically for the needs of modern industrial enclosures, cabinets, HVAC, machinery, vehicles, and telecoms equipment.
This is classified as a concealed hinge. When a concealed hinge is installed it conceals the hinge from the exterior of the enclosure. This concealed installation benefits security and aesthetics, and limits exposing the hinge to the external environment.
The body of this hinge is manufactured from either chrome plated die cast zinc with zinc plated steel mating part and nickel plated steel pin, or 316 stainless steel body, pin and mating part. These materials are strong and durable and guaranteed to provided many years of reliability.
The Model 19 HI features a removable pin which is secured in place with a circlip. A removable pin allows the door to be separated from the cabinet, improving access for installation and maintenance.
The stainless steel version of this hinge is recommended for large and heavy doors or installation in extreme environments.
Material
Chrome plated die cast zinc hinge, zinc plated steel mating part and nickel plated steel pin or polished stainless steel 316 hinge, mating part and pin.
Opening angle
90 degrees
Function
A removeable pin allows the door to be separated from the enclosure giving improved access. The pin is secured with a circlip.
Download datasheetThis product complies with:
RoHS REACH Conflict Minerals California Prop 65










