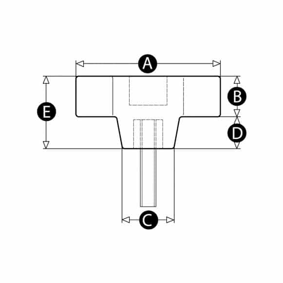
| Part No. | A | B | C | D | E | Thread size | Thread length (mm) | Download CAD | Stocked status | M.O.Q. | Typical lead time | Price & availability | 
|---|---|---|---|---|---|---|---|---|---|---|---|---|
| 4507P | 50 | 14 | 16.5 | 11 | 25 | M6 | 20 | CAD | Stocked | Minimum order quantity 10 pieces | Typical lead time is 2 days | Confirm price & availability | 
| 4506W | 50 | 14 | 16.5 | 11 | 25 | M8 | 25 | CAD | Stocked | Minimum order quantity 10 pieces | Typical lead time is 2 days | Confirm price & availability | 
Male Threaded Wing Knob
Description
Our Model 36M PK is a modern, minimal wing knob. Each wing is recessed on one side to improve grip and comfort.
The high impact resistant thermoplastic and zinc plated steel male thread are strong, durable and highly resistant to oil, solvents, grease and heat.
We also manufacture this wing knob with a brass through thread insert.
Material
High impact resistant thermoplastic
Standard colour
Black
Finish
Matt
Male thread material
Zinc plated steel
Download datasheetThis product complies with:
RoHS REACH Conflict Minerals California Prop 65











 
						 
						 
    
         
                            